我是42期警專甲組郭隆慶,高中就立志當個警察,因為薪水穩定,同時工作內容具有挑戰性,不會讓生活那麼枯燥乏味。
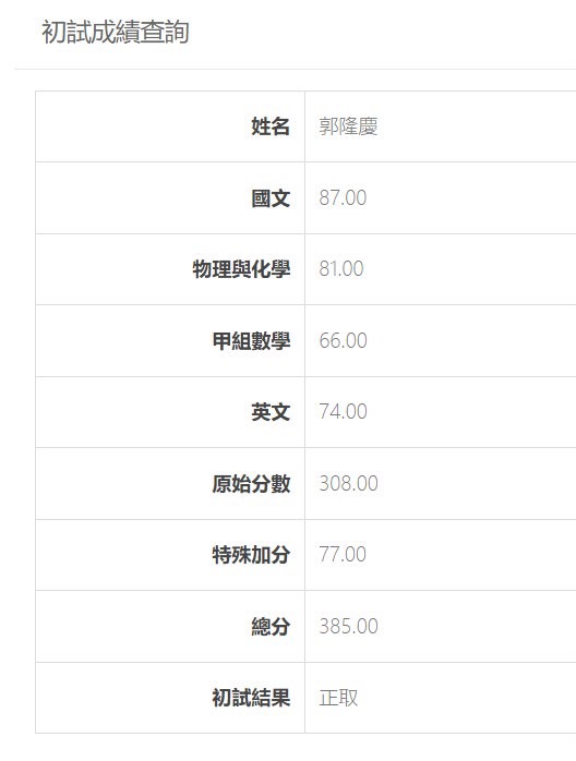
我在放榜那天看到自己的成績是正取且排行第三,覺得很不可思議,但也歸功於高見的班導、副班導、各科老師以及主任,他們會時常提點我們該注意的地方,不管是考試的細節或是讀書的技巧,我都有銘記在心,再加上我同時邊讀書邊游泳,游泳不僅讓我放鬆心靈、宣洩壓力,也讓我擁有成就感,在游泳比賽上拿到全國第一,以至於在警專的制度下,得以讓我做到一個加分的效果。以下我將說明我讀各科科目的方法。
數學:
用手算不要用眼看,不會的題目可以問完老師之後,回去再複習那一題的觀念
英文:
警專考的文法偏細,所以要花心思多背,單字也是要多背,5、6級單字多注意
國文:
很多要死記的觀念,盡可能讓自己用一些聯想法,來幫助自己記憶,作文多記一些詞藻優美的句子
物理:
公式和單位間的關聯性很重要,要釐清清楚,不懂馬上問老師,因為有時候這些東西很抽象
化學:
一樣是該背的要背,可以做一本小小筆記本,來讓自己熟悉內容,像是有機化合物或沈澱表
高見的群組都可以多利用,裡面可以拍照上傳自己不會的題目,老師也會在群組裡面詳細的幫各位解惑,最後,警專沒有很難考,有心都可以上,只是在你偷懶的時候,你的對手都在前進,記住這句話!
郭隆慶 警專甲組 福誠高中
jisoo930913@gmail.com
113年度警專43期年度班
將於7月份全面開課囉~
落榜的同學別氣餒
警專高見這裡幫助同學一臂之力
We use cookies to improve your experience on our site. By using our site, you consent to cookies.
Manage your cookie preferences below:
Essential cookies enable basic functions and are necessary for the proper function of the website.
Statistics cookies collect information anonymously. This information helps us understand how visitors use our website.
Google Analytics is a powerful tool that tracks and analyzes website traffic for informed marketing decisions.
Service URL: policies.google.com (opens in a new window)
Marketing cookies are used to follow visitors to websites. The intention is to show ads that are relevant and engaging to the individual user.