警專44期乙組男生上榜心得|陳昱鈞 中山工商

警專心得用 9
警專44期乙組男生上榜心得|陳昱鈞 中山工商

當時為何會選擇高見

當時選擇高見,是因為其專業的師資、完善的課程規劃,以及學長姐們的高度推薦。希望能在穩固基礎的同時,有效率地提升成績,朝理想目標邁進。高見的學習氛圍也讓我更有動力持續努力。
主要也是因為它在升學輔導領域的良好口碑,許多學長姐都強烈推薦,表示在這裡不僅能獲得專業師資的指導,還能掌握考試的重點與解題技巧。高見的課程規劃非常完善,從基礎到進階都有系統地安排,讓我能按部就班地進步。此外,老師們教學認真,會依照學生的狀況給予建議,讓我在短時間內釐清弱點並加以改進。整體學習環境也很有激勵性,身旁同學們都很認真,讓我不自覺想要更加努力。選擇高見,是我為升學做出的重要決定之一。

各科目的準備方法

考前一個月開始讀書,時間緊迫,因此我採取高效率的讀書策略,針對各科目做出不同的準備方法,以提升記憶與應用能力。

國文方面,我以作文與選擇題為重點。作文我每天練習一篇,並請老師批改後修改,強化內容深度與表達清晰度;選擇題則重複練習歷屆試題與模擬題,熟悉常考成語、文意判斷與閱讀理解的邏輯,特別注意錯題解析,避免重複犯錯。

英文則以單字與閱讀為主。我使用單字書每天背誦一回,並搭配Quizlet做測驗強化記憶。閱讀方面,選擇歷屆題目練習,並強調段落主旨判斷與文章邏輯理解,遇到不熟的文法句型會另外整理筆記。考前兩週,我每天做一份完整的模擬試題,練習閱讀速度與時間掌握。

數學屬於最花時間的科目,我先複習筆記中的重點公式與觀念,接著針對各章節題型分類練習。考前我不追求做難題,而是針對中等與常考題型反覆練習,確保不會失分。每天安排至少兩小時集中練習計算與解題速度,並整理錯題本。

歷史、地理,則靠大量複誦與時序整理。我將重要事件、地理觀念做成時間軸與思維圖,每天快速翻閱記憶。考前一週,每天模擬一次社會測驗,檢查記憶是否完整。

總結來說,雖是臨時抱佛腳,但考前一個月讀書講求效率與策略。我每天依照時間表分配各科時間,並不斷檢視學習成果。雖然準備時間有限,但只要用對方法,一樣能有效提升成績。

IMG 4022 止痛藥
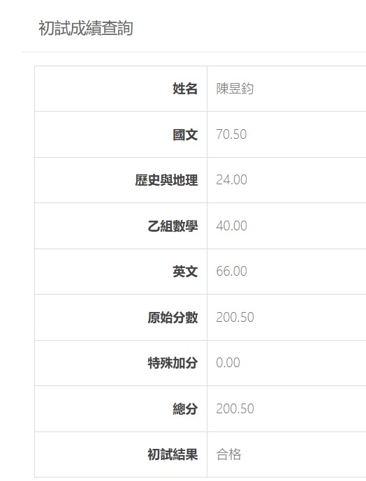
警專44期乙組男生陳昱鈞成績單

您最想感謝的老師

「國文老師」:老師這次我作文沒有在偏題了ㄛ~反倒拿了個超高分哈哈哈哈,還是老師您教導有方,讓我這國小就沒在讀書的,將近10年沒讀書的壞學生,在短短時間拉到這麼高分,感謝老師的教導,愛你呦~😘

「英文老師」:老師有空我飛美國時,還望能跟老師您一同旅遊,這次就我英文進步最大,拉到及格超過,超爽的ㄟ~感謝老師的教導,愛你呦~😘

「數學老師」:老師我會有事沒事就電話約你爬山ㄛ~感謝老師的教導,愛你呦~😘

「地理、歷史老師」:老師改天有要一起出國還是拍照攝影,一起遊遍這世界,在我心裡您不只是我的地理、歷史導師,更是我心目中的心裡導師,都會找您一起玩der ~感謝老師的教導,愛你呦~😘

感謝各位老師的不嫌棄,願意用另一種方式來教導我,把我從一個做偏門給拉回正軌,一日為師,終生為父,各位老師的恩情,小的我銘記在心,以後要是能有用得上我啊ㄍㄨㄣˉ的地方,請盡量開口,小的一定給您安排上,處理的漂亮👍

 金榜生:陳昱鈞

來自中山工商

聯繫方式:c0988890978@gmail.com

114.5.4114.6.8

同學們這次警專考試考糟而不幸落榜了嗎?

沒關係,警專高見給你最大的鼓勵

現在憑警專44期准考證報名課程

限時優惠價39,800元

再報考衝班還能再折扣2,000元優惠喔~

!活動期限延長!

歡迎諮詢小編~